Automat na kovanice za WC sa svjetlom, ventilatorom i SOS signalnom kontrolom MAD 6
1.253,88 € – 2.053,88 €Raspon cijena: od 1.253,88 € do 2.053,88 €
Automat za novčiće MAD 6 dizajniran je za ugradnju u zid i omogućava otključavanje vrata uz naplatu.
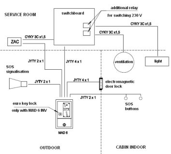
Automat na kovanice za WC MAD 6 dizajniran je za ugradnju u zid i omogućava otključavanje vrata uz naplatu ili kontrolu ulaza u prostor plaćanjem unaprijed određenog kredita (kao što je okretnica). Automat MAD 6 u stanju je kontrolirati svjetlo i ventilator u zahodskoj kabini, kao i osigurati otvaranje vrata i pokretanje alarma nakon pritiska SOS gumba unutar WC kabine.
Oprema je pogodna za sanitarne prostorije, gdje želimo ne samo kontrolirati ulaz, već istodobno uvjetno s ulazom, također svjetlost, ventilaciju i, ako je potrebno, uspostaviti obveznu SOS signalizaciju ako je soba također dizajnirana za korisnici invalidskih kolica.
Automat prihvaća dvije valute, u standardnoj verziji CZK i EUR. Ostale su valute moguće po narudžbi. Iznos koji se naplaćuje za unos je prilagodljiv. Uređaj zbraja vrijednosti novčića do potrebne količine. Automat kovanica također se može nadopuniti integriranim čepom za eurokey (za korisnike s invaliditetom) – isporučuje se pod oznakom MAD 6 INV.
MAD 6 se može postaviti u dva načina rada:
1) bez blokade vrata – ova se postavka koristi ako automat kontrolira zajednički ulaz u sanitarni čvor i vrata će se otvoriti svaki put kada se unese potrebna količina
2) s blokadom vrata – ova se postavka koristi ako automat kontrolira ulaz u pojedinačnu zahodsku kabinu gdje vrata treba blokirati kada je kabina zauzeta.
Automat na kovanice može se isporučiti i u jednostavnijoj verziji pod nazivom MAD 1 koji samo kontrolira ulaz i ne uključuje dodatne funkcije (svjetlo, ventilacija itd.).
Svi automati za kovanice serije MA mogu se nadopuniti internim brojačem kovanica PM za provjeru u slučaju da novčiće sakuplja netko drugi od vlasnika, eventualno okvirom od nehrđajućeg čelika s poklopcem brave RMA 2 – za još veću otpornost proizvoda.
Sadržaj paketa
- kućište od nehrđajućeg čelika
- akceptor novčića
- elektronika
- kutija za kovanice
- kućište kutije s bravom
- elektromagnetska brava na vratima s prekidačem
- PM – interni brojač prihvaćenih kovanica
- RMA 2 – okvir od nehrđajućeg čelika s poklopcem brave
| Napon | 12 V, 50 Hz |
| Ulazna snaga | 6 VA (20 VA pri skeniranju kovanica) |
| Izvor napona | ZAC 1/50, ZAC 1/20, ZAC 1/36L |
| Prihvaća kovanice | 1; 2; 5; 10; 20; 50 CZK; 0.1; 0.2; 0.5; 1; 2 EUR i tokeni ZT 2, druge kovanice po narudžbi |
| Težina | 3,6 kg |
Upute za ugradnju
- Postavite ožičenje električne energije, uključujući spajanje automata s razvodnom pločom prema shemi.
- Postavite nišu za automatsku instalaciju novčića.


| Težina | 4 kg |
|---|---|
| Dimenzije | 27,5 × 26 × 29 m |
